Inteligentna rješenja iz SAD-a: Ford je patentirao sjenilo za zaštitu od Sunca koje može spasiti živote!
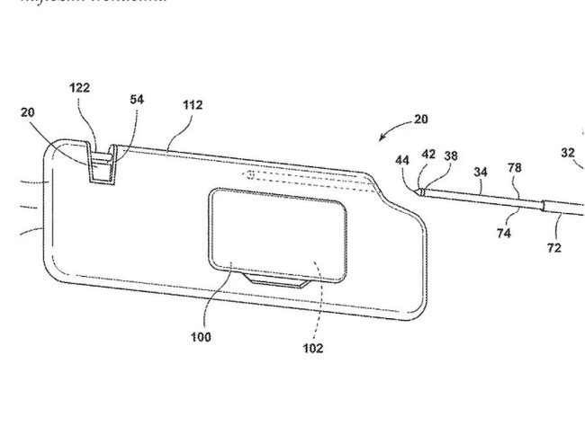
Alat za razbijanje prozora postao bi važan dio pribora, jer pomaže razbiti vjetrobransko staklo ili bočna stakla u najtežim trenucima Proizvođači automobila ne spavaju, kontinuirano se radi na inovacijama. Neke od njih su korisne, druge su samo vizije, a treće su patentni koji mogu završiti u serijskoj proizvodnji, a i ne moraju. Ford je nedavno…


