Ovo je za svaku pohvalu i dio automobila koji je neophodan u današnjim automobilima i prosto je neshvatljivo kako smo svih 100+ godina vozili automobile bez tog dodatka
Pod sloganom ‘Protiv hladnoće’, Ford je u Američkom patentnom uredu uspio patentirati grijani sigurnosni pojas u automobilu. Prema stručnjacima Forda upravo je to važan detalj koji do izražaja dolazi za ovih hladnih zimskih dana, jer ledeni pojas oko pojasa i preko ramena na prsima izaziva neugodu i ledeni osjećaj.

Ford je patentirao grijanje sigurnosnih pojaseva
Je li to samo mi zimi u automobilu sjedimo u zimskoj odjeći ili to samo u Fordu po zimi u automobil sjedaju u bikiniju ili kupaćima da ih to smeta, ne znamo, ali ozbiljno su mislili i to patentirali u Americi.

Ford je patentirao grijanje sigurnosnih pojaseva
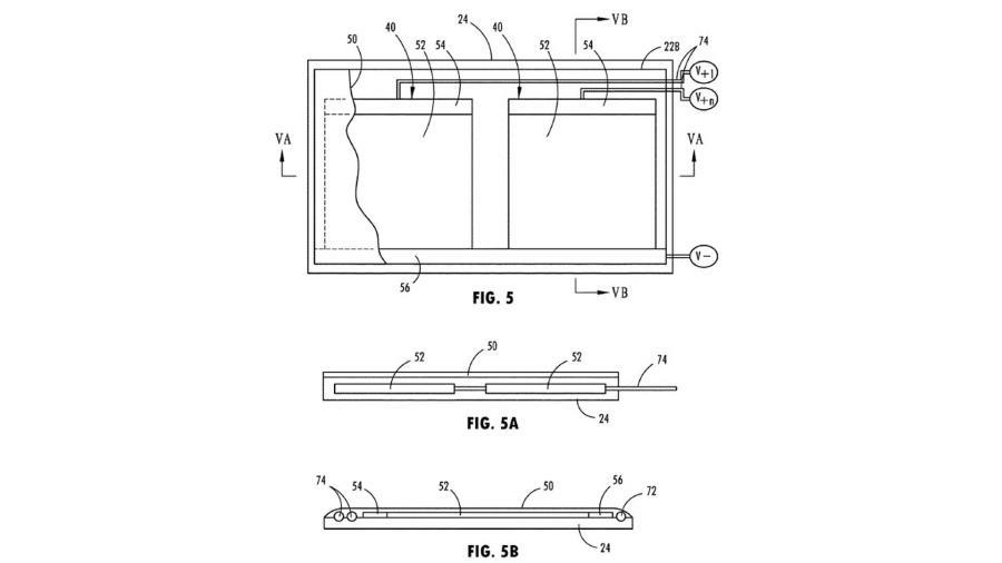
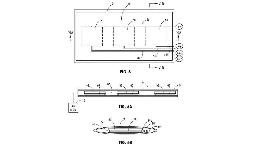
Rekli bismo bizaran patent i čudno da ga se netko već do sada nije sjetio prijaviti, jer rješenje je krajnje jednostavno. Pogledajte skice iz patenta i bit će vam jasno. U trake sigurnosnog pojasa ugrađene su tanke električne grijače niti koje ga zagrijavaju, nešto slično po principu grijanja sjedala ili obruča upravljača.

Ford je patentirao grijanje sigurnosnih pojaseva
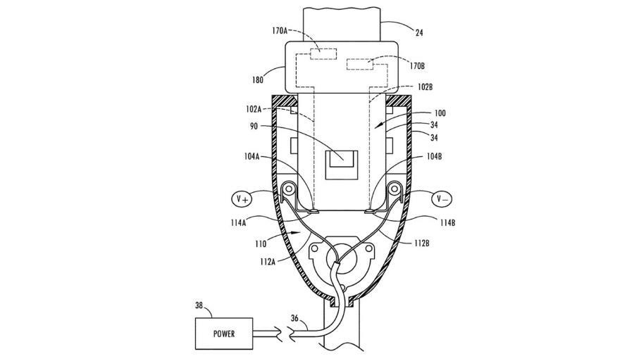
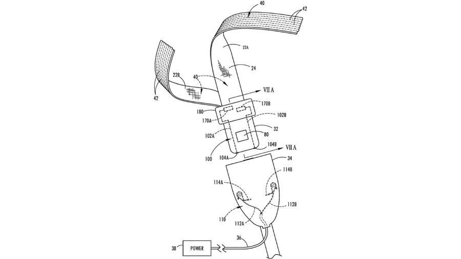
Sam patent opisan na 31 stranici dokumenta predstavlja nekoliko različitih rješenja izvedbi samog pojasa i sigurnosne kopče. Dovoljno je zakopčati pojas i grijanje počinje. Zagrijavanje je brzo, a intenzitet grijanja se može podešavati po želji.

Ford je patentirao grijanje sigurnosnih pojaseva
Vjerujemo kako će se u Fordu vrlo brzo dosjetiti kako mogu zagrijavanje sigurnosnog pojasa izvesti i prije ulaska u vozilo, tako da pojas bude već zagrijan kada se uđe u vozilo. No, to ćemo pričekati valjda za novu verziju u bliskoj budućnosti. Pitanje je što će još novog neviđenog i potpuno nepotrebnog izmisliti proizvođači automobila ubuduće i to onda isfurati kao obavezan dio opreme, koju na kraju plate, ne oni, nego kupci njihovih vozila.
Davor Kindy
Foto: USA patentni ured

Ford je patentirao grijanje sigurnosnih pojaseva









